As per Lenz's law the electromotive force (EMF) induced in a conductor has such a direction that the current produced by it opposes any flux change. More precisely, in a specific case of a conductor moving relative to magnetic field, the magnetic field produced by the current due to the induced EMF in the conductor interacts with the external magnetic field that initially induced the EMF, and thereby produces a net force on the conductor opposing its movements across the magnetic field. If the configuration of the conductor through which the current flows is made in such a way that the magnetic fields produced by the currents in the above two conductors cancel each other partially (if not fully), then there is a way to beat the Lenz's law due to which mechanical power required to move the conductor across the magnetic field to generate electrical power will get proportionally reduced.
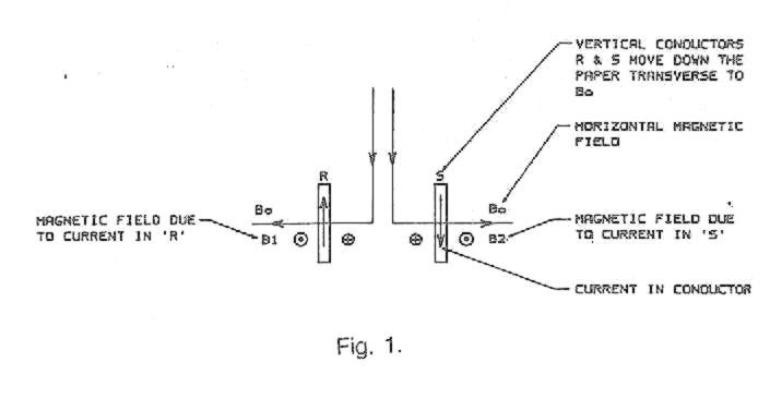
In an electric conductor moving relative to a steady magnetic field as shown in Fig. 1, EMF is induced. The fundamental explanation for the EMF to produce current when the circuit is closed as currently believed is that the conductor has free electrons that account for the property of conductivity, and these electrons experience in succession a push (magnetic force) in one direction due to the induced EMF in the conductor. The EMF is defined as the tangential force per unit charge in the conductor integrated around the circuit. Thus, each electron in the conducting circuit receives energy which is directly proportional to the product of the magnetic force on the electron and its velocity. With the above definition of EMF and the magnetic force on the electron, it can be shown that an electric generator, with no-load induced EMF, E, and load current I, will deliver power equal to EI.

Consider the case of an ideal generator with permanent magnets for excitation which, when run on no-load, will not consume power towards windage and friction losses and yet EMF will be induced in its conductors. Since the induction of EMF in an ideal generator does not require power, the electrons of the circuit conductors for the flow of current when the circuit is closed can not receive energy from EMF for the successive push on free electrons as stated earlier. The agency for the flow of current in a circuit is no doubt the presence of EMF in the circuit but, since the EMF itself has not received from the prime-mover any energy during induction, the explanation for the origin of the force on electrons for the flow of current has to be found elsewhere.


The positive polarity of a generator has atoms that have lost their orbital electrons due to induction of EMF and, therefore, being positively charged, electrically attract loosely bound outer orbit's electrons of the neighbouring neutral atoms of the circuit conductor when the output switch is closed. This process of electric attraction of electrons by the positively charged neighbouring atoms proceeds from one atom to the next throughout the circuit. The atoms of the circuit due to the above transfer of the electrons successively change from neutral to positively charged states and back to neutral and so on as the electrons flow is continuously maintained to positive terminal and, further, in the whole circuit. The electric attraction of the electrons by the positively charged atoms does not lead to the deficit of the electric field strength of the positively charged atoms, just as it happens in the case of attraction of the iron blocks from the electromagnet discussed before, where the strength of the magnetic field is not depleted. Therefore, it can be concluded that the flow of electric current does not require energy from the EMF to be imparted to the free electrons.
The reason for gravity, electric and magnetic fields to do work in certain phenomena without reduction in their field strengths can be found in a new theory of space, matter and energy as per which the electron, which produces electric, magnetic and gravity fields, has in its structure (Fig. 4) a non-material (non-viscous, incompressible, massless, continuous) fluid, which itself is the absolute vacuum. It is the rotation of the absolute vacuum (space) at its limiting speed (equal to light speed, c) that creates stable electron. The velocity field produced due to spinning of space is the most fundamental state of cosmic energy. Since the medium of space is postulated to be non-viscous, the strength of the velocity fields in the structure of the electron does not change even when the electron is in motion and, therefore, the electron exists eternally with space spinning at maximum speed (Fig. 5), and without any loss of mass, charge, or energy from its structure eternally till it gets annihilated (Fig. 6) by its opposite particle positron. It has been shown that from the velocity fields produced by limiting rotation of space mass and charge of electron are created (Fig. 5), and gravity, electric fields are produced. The magnetic field is concluded to be the conversion of the spatial velocity field itself when electron is in motion relative to space. Therefore these fields too cannot dissipate their field-strengths during interaction and are indestructible entities as long as the electron exists. During super-position of electric fields, as noticed in the creation of neutral state of matter when positive and negative charges meet, or when oppositely directed magnetic fields occupy the same region of space, the original-field strengths are restored when the initial conditions prior to the superposition are re-established.

Due to motion of electron or if it is supposed to oscillate to and for, a space point P will have different magnitudes of the fields there (Fig. 7) since the strength of the velocity field of the electron falls inversely as the distance from the electron's centre. The effect of decreasing field potentials trailing behind the electron as it moves, can be shown as electromagnetic (light) effect. The process of "readjustments" of the magnitudes of the fields in space as particles move or oscillate is seen as radiation, light, or heat-effect. There is no loss in strength of the velocity field or energy from the structure of electron due to radiation that is produced when it moves or is accelerated.
The flow of electric current causes electrons to jostle around atoms and thereby the kinetic energy of the moving electrons produces oscillations of the atoms within the conductor and results in "changes in the field potentials" of the atoms in their vicinity, spreading out at speed c also outside the conductor. As discussed before, the atoms of the conductor undergo successive changes from neutral to positive state and thus produce in their surroundings "changes in their field potentials' due to the gravity potential in neutral state changing into electromagnetic potential in positively charged state. These "changes in field potentials" as slated above have the effect of heat radiations, and here again the energy in the structure of the electrons and the atoms of the circuit conductor remains a constant quantity. (The mass-energy equation E = mc2 is valid during the process of annihilation of electron and positron, and also during creation of these particles, but not in the process of vibrating atoms or acceleration of electrons due to which light is produced).

The "photons" produced in heat radiations are not energy entities as conventionally believed, but effects of "decreasing field potentials" of the vibrating atoms. Since a neutral atom say A during oscillations produces radiation pulses due to changes in its gravity potentials, the neighboring atom B also undergoes changes in its gravity potentials due to the radiation pulses from A, and in turn B produces radiation pulses of its own such that the pulses from B are opposite in phase to those from A, thereby helping in restoring the stability of A. Kinetic heat due to vibrations of atoms is a process that without exchange of energy from the structure of the atoms restores stability, or thermal equilibrium in the surrounding matter, and it is therefore that within a thermally closed system, air bodies come to the same temperature. The present concept of exchange of energy between bodies due to heat radiation fails when rigorously analysed taking note of the process of creation of matter from spatial reality.
If heat produced in the electric circuit due to its resistance to current flow is not energy in a true sense, and EMF does not require energy for the current to flow, then a generator designed with new configurations of the magnetic field and the conductor will take much less energy in addition to constant magnetic excitation to produce EMF and output power. The experimental results from various models of space power generator (SPG) in which configurations of the magnetic field and conductor discussed earlier and different from the conventional generators have shown that in motor-SPG set, over and above the windage and frictional power, for each KW of mechanical power, about 2.5 KW of electrical power can be generated, thus providing support to the above theoretical considerations. It also gets evident that there exists the possibility for a highly efficient free power machine that will make perpetual system possible.

